证券之星消息,根据天眼查APP数据显示赛腾股份(603283)新获得一项发明专利授权,专利名为“一种组装脱磁承载装置”,专利申请号为CN202511052574...
日前,国家外汇管理局发布《2025年上半年中国国际收支报告》(下称《报告》)。《报告》指出,2025年下半年,预计经常账户继续保持合理均衡水平,跨境双向投融资有...
证券之星消息,根据天眼查APP数据显示安记食品(603696)新获得一项外观设计专利授权,专利名为“包装袋(安记浓鲜鸡精)”,专利申请号为CN202530077...
照亮教育创新:2025年一丹奖获奖名单公布-"2025年一丹奖得奖者乌里·威伦斯基教授(左)和马马杜·阿马杜·利(右)表彰教育创新点亮更多可能2025年两位得...
证券之星消息,根据天眼查APP数据显示科沃斯(603486)新获得一项实用新型专利授权,专利名为“清洁基站及清洁系统”,专利申请号为CN202422146439...
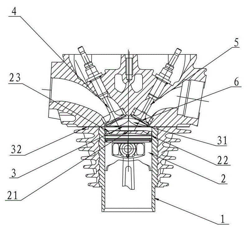
证券之星消息,根据天眼查APP数据显示潍柴动力(000338)新获得一项实用新型专利授权,专利名为“燃烧室结构及具有其的发动机”,专利申请号为CN2024226...
格隆汇9月30日丨交大思诺(300851.SZ)公布,近日收到公司董事长李伟先生家属的通知,其收到由天津市滨海新区监察委员会签发的关于李伟先生的《留置通知书》,...
瑞泰人寿打造中小险企转型样本照亮差异化发展之道 近年来,大量中小险企在巨头与互联网平台的夹击下陷入发展困境,面临“不进则退”的生存考验,部分险企...





