人民财讯8月4日电,中国人民银行公布2025年7月中央银行各项工具流动性投放情况,其中MLF净投放1000亿元,买断式逆回购净投放2000亿元,未进行公开市场国...
例如,在脑机接口领域,我国专家正在牵头制定一系列引领产业发展方向的国际标准。通过制定碳数据溯源、碳足迹核算等方面国际标准,统一国际量化口径与数据质量,解决跨境可...
波长光电今日下跌2.15%,全天换手率40.96%,成交额24.39亿元,振幅9.75%。龙虎榜数据显示,深股通净卖出2592.70万元,营业部席位合计净买入2...
证券之星消息,根据天眼查APP数据显示顾家家居(603816)新获得一项外观设计专利授权,专利名为“桌子(PT3735T-S)”,专利申请号为CN2025300...
证券之星消息,根据天眼查APP数据显示中国石油(601857)新获得一项发明专利授权,专利名为“柴油机润滑油组合物及其制备方法”,专利申请号为CN2023109...
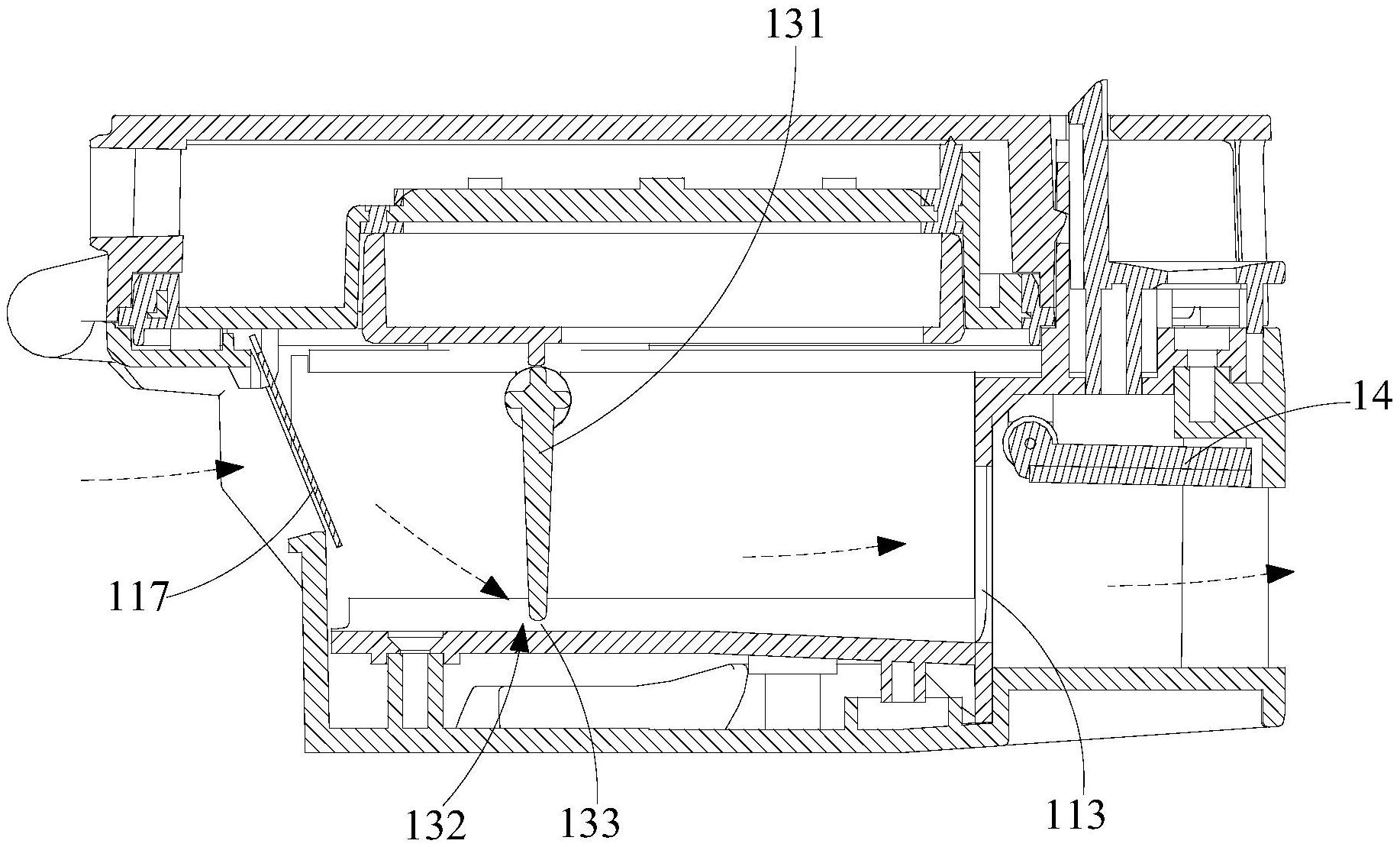
证券之星消息,根据企查查数据显示石头科技(688169)公布了一项国际专利申请,专利名为“一种清洁设备及清洁系统”,专利申请号为PCT/CN2025/08013...
证券之星消息,根据7月1日市场公开信息、上市公司公告及交易所披露数据整理,维海德(301318)最新董监高及相关人员股份变动情况:2025年6月30日公司董事,...
日前,华证指数公布了新一期(2025年4月30日)的ESG评级结果,海洋王(002724.SZ)获得B评级(华证指数评级为C起至AAA九档,C为最低档,AAA为...
证券之星消息,根据天眼查APP数据显示恒玄科技(688608)新获得一项发明专利授权,专利名为“一种主动降噪调试方法、系统、电子设备及存储介质”,专利申请号为C...






