
图片来源于网络,如有侵权,请联系删除
证券之星消息,根据天眼查APP数据显示四方股份(601126)新获得一项实用新型专利授权,专利名为“一种浮动式插头夹具机构”,专利申请号为CN202423214510.7,授权日为2026年2月17日。

图片来源于网络,如有侵权,请联系删除
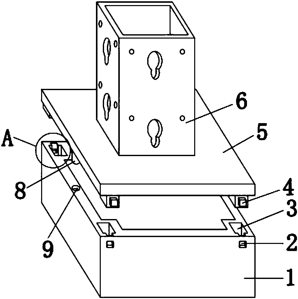
专利摘要:本实用新型公开了一种浮动式插头夹具机构,属于自动化测试技术领域,所述浮动式插头夹具机构,包括:固定架、浮动组件、RJ45插头和RJ45插头夹具;所述固定架纵截面呈L形,所述固定架与浮动模块之间通过浮动组件相连接,所述固定架内部挖设通孔,所述浮动组件包括浮动模块、弹簧、轴肩螺钉,本实用新型无需手工连接RJ45插头、RJ45插座,通过自动进行X、Y方向的浮动使得RJ45插头自动对准RJ45插座,自动化测试连接可靠性强,降低RJ45插头与插座自动化连接的不良率,提高了自动化测试效率;通过自动进行Z方向的浮动避免RJ45插头过插,防止RJ45插座损坏。
今年以来四方股份新获得专利授权12个,较去年同期增加了71.43%。结合公司2025年中报财务数据,2025上半年公司在研发方面投入了3.41亿元,同比增6.32%。
通过天眼查大数据分析,北京四方继保自动化股份有限公司共对外投资了22家企业,参与招投标项目7764次;财产线索方面有商标信息72条,专利信息1797条,著作权信息366条;此外企业还拥有行政许可41个。
数据来源:天眼查APP
以上内容为证券之星据公开信息整理,由AI算法生成(网信算备310104345710301240019号),不构成投资建议。
