
图片来源于网络,如有侵权,请联系删除
证券之星消息,根据天眼查APP数据显示保变电气(600550)新获得一项实用新型专利授权,专利名为“一种变压器用电缆接线端防护装置”,专利申请号为CN202520024023.X,授权日为2026年2月10日。

图片来源于网络,如有侵权,请联系删除
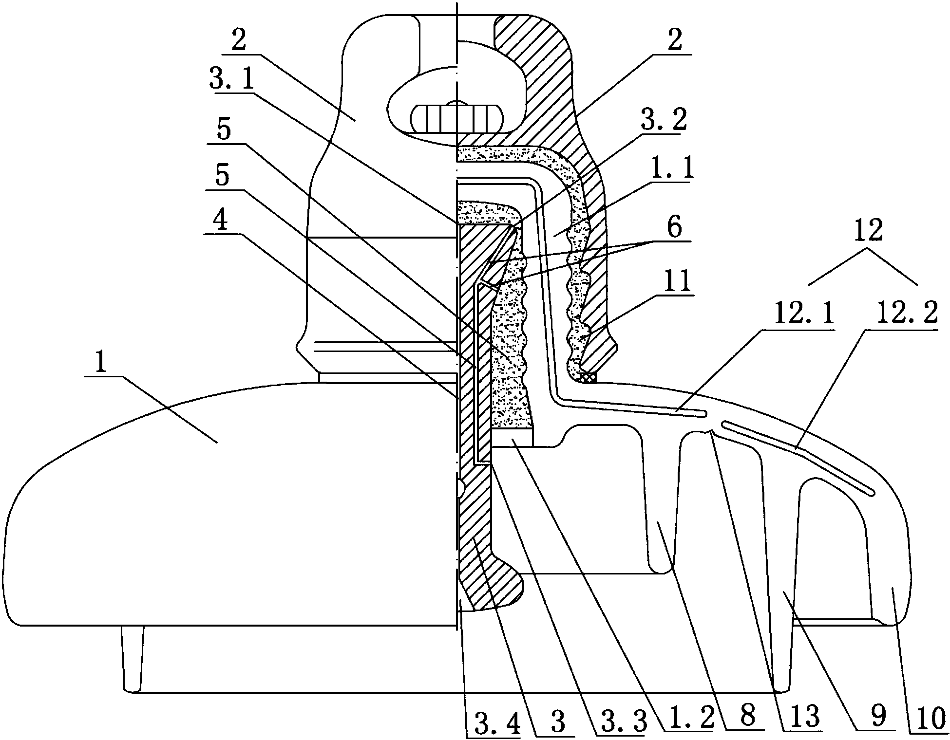
专利摘要:本实用新型公开了一种变压器用电缆接线端防护装置,涉及变压器防护技术领域,该防护装置包括基座和牵扯缓冲机构,牵扯缓冲机构通过支座安装在基座上,牵扯缓冲机构包括防退料组件、缓冲组件和牵扯抚料组件,防退料组件用于防止敷设中的电缆后退,靠近支座的电缆具有富余长度量且缠绕安放在缓冲组件上,缓冲组件用于缓冲靠近支座的电缆受到的拉力,牵扯抚料组件安装在防退料组件上,且牵扯抚料组件与缓冲组件传动连接,所述牵扯抚料组件用于降低靠近防退料组件的电缆的弯折角度。该防护装置对接线端的电缆进行拉力缓冲,避免靠近接线端的电缆因受到紧绷拉力变形,甚至导致电缆内的芯线导体断裂,甚至接线端的电缆松脱。

图片来源于网络,如有侵权,请联系删除
今年以来保变电气新获得专利授权28个,较去年同期增加了300%。结合公司2025年中报财务数据,2025上半年公司在研发方面投入了4652.18万元,同比增18.37%。
通过天眼查大数据分析,保定天威保变电气股份有限公司共对外投资了22家企业,参与招投标项目2563次;财产线索方面有商标信息19条,专利信息1986条,著作权信息8条;此外企业还拥有行政许可9个。
数据来源:天眼查APP
以上内容为证券之星据公开信息整理,由AI算法生成(网信算备310104345710301240019号),不构成投资建议。
