
图片来源于网络,如有侵权,请联系删除
证券之星消息,根据天眼查APP数据显示软控股份(002073)新获得一项实用新型专利授权,专利名为“一种样片标记装置”,专利申请号为CN202422771976.0,授权日为2026年1月30日。

图片来源于网络,如有侵权,请联系删除
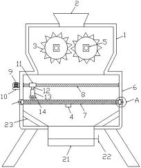
专利摘要:本申请提供了一种样片标记装置,该样片标记装置包括:用于传输样片的传输带,位于所述传输带一端并用于将样片转移至所述传输带的集料斗;以及位于所述传输带另一端并用于收集所述传输带传输的样片的收料槽;还包括喷码装置,所述喷码装置包括与所述传输带配合并用于夹持所述样片的抵压组件,以及用于对抵压的样片进行喷涂的喷涂头。在上述技术方案中,通过采用传输带传输样片,并且在传输的过程中,通过抵压组件将样片压紧在传输带上进行相对固定,并通过喷涂头对样片进行喷涂,从而在样片传输的过程中实现对样片的喷涂,提高了喷涂的效果。

图片来源于网络,如有侵权,请联系删除
今年以来软控股份新获得专利授权13个,较去年同期增加了44.44%。结合公司2025年中报财务数据,2025上半年公司在研发方面投入了2.21亿元,同比增22.71%。
通过天眼查大数据分析,软控股份有限公司共对外投资了27家企业,参与招投标项目27次;财产线索方面有商标信息99条,专利信息1699条,著作权信息178条;此外企业还拥有行政许可17个。
数据来源:天眼查APP
以上内容为证券之星据公开信息整理,由AI算法生成(网信算备310104345710301240019号),不构成投资建议。
