
图片来源于网络,如有侵权,请联系删除
证券之星消息,根据天眼查APP数据显示兰剑智能(688557)新获得一项实用新型专利授权,专利名为“一种海绵块装填装置”,专利申请号为CN202423089556.0,授权日为2025年10月31日。

图片来源于网络,如有侵权,请联系删除
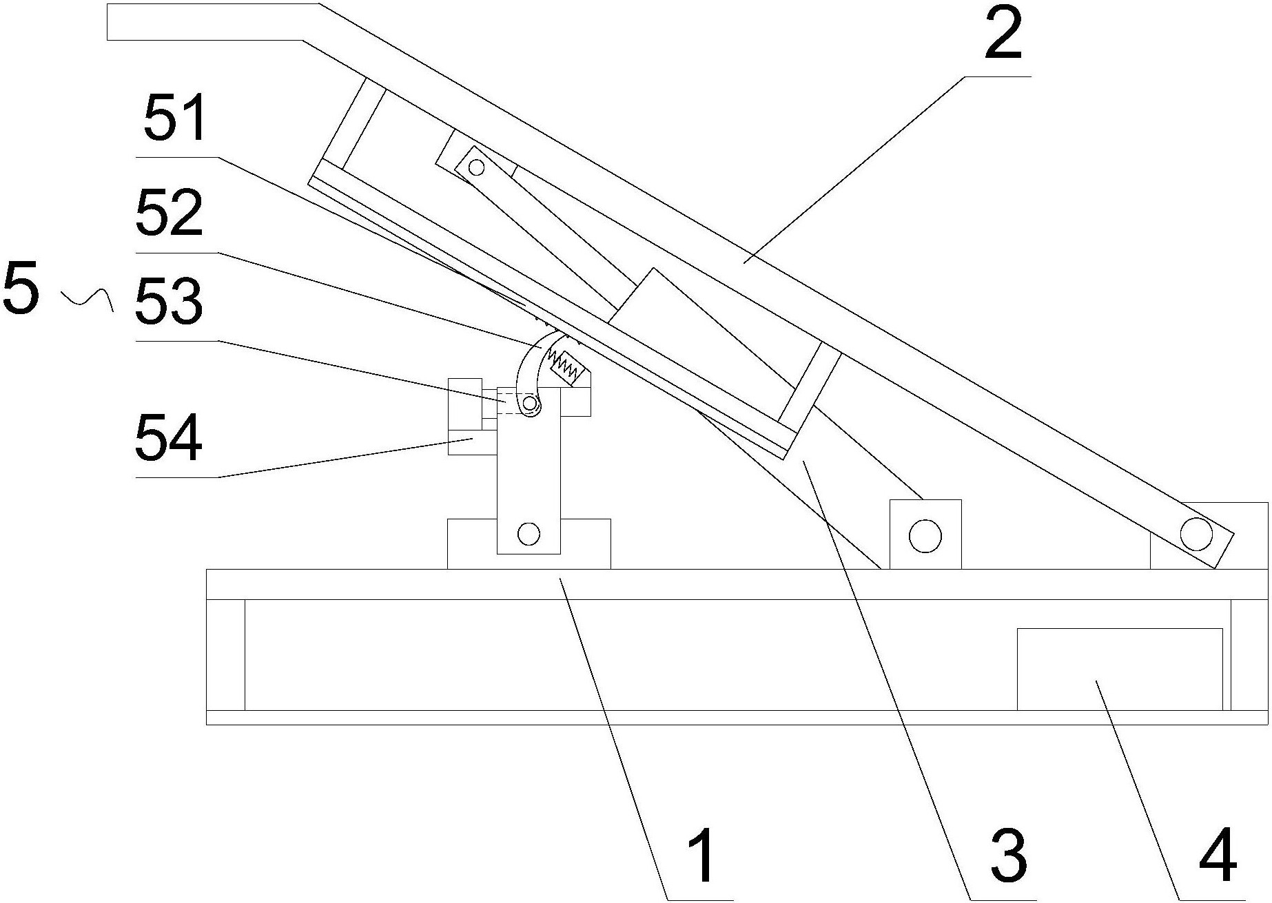
专利摘要:本申请实施例提供了一种海绵块装填装置,包括桁架机构和取块机构。其中,桁架机构被设置在地面上,取块机构与桁架机构连接,桁架机构能够驱动取块机构移动,以使取块机构到达合适的位置取放海绵块。取块机构包括固定组件和叉取件,固定组件的一端与桁架机构连接,叉取件的一端与固定组件固定连接,且叉取件沿竖直方向设置,桁架机构驱动固定组件移动,从而使固定组件带动叉取件叉取海绵块或将海绵块放置在定植板中。该装置利用叉取件叉取海绵块,无需附加驱动以及无需预留抓取空间,可实现密排海绵块的取放,大大提高了向定植板放置海绵块的工作效率。

图片来源于网络,如有侵权,请联系删除
今年以来兰剑智能新获得专利授权104个,较去年同期增加了333.33%。结合公司2025年中报财务数据,今年上半年公司在研发方面投入了6436.79万元,同比增18.21%。
通过天眼查大数据分析,兰剑智能科技股份有限公司共对外投资了4家企业,参与招投标项目848次;财产线索方面有商标信息68条,专利信息437条,著作权信息70条;此外企业还拥有行政许可15个。
数据来源:天眼查APP
以上内容为证券之星据公开信息整理,由AI算法生成(网信算备310104345710301240019号),不构成投资建议。
