证券之星消息,根据天眼查APP数据显示宁德时代(300750)新获得一项实用新型专利授权,专利名为“防爆阀、电池包和用电装置”,专利申请号为CN20242253...
人民财讯10月17日电,慧博云通(301316)10月17日公告,公司接到控股股东申晖控股、实际控制人余浩及其一致行动人慧博创展出具的《关于特定期间不减持公司股...
证券之星消息,根据天眼查APP数据显示海尔智家(600690)新获得一项实用新型专利授权,专利名为“洗涤筒及洗涤设备”,专利申请号为CN202321712075...
证券之星消息,根据天眼查APP数据显示中国石化(600028)新获得一项发明专利授权,专利名为“一种高导热耐硫变换催化剂及其制备方法和应用”,专利申请号为CN2...
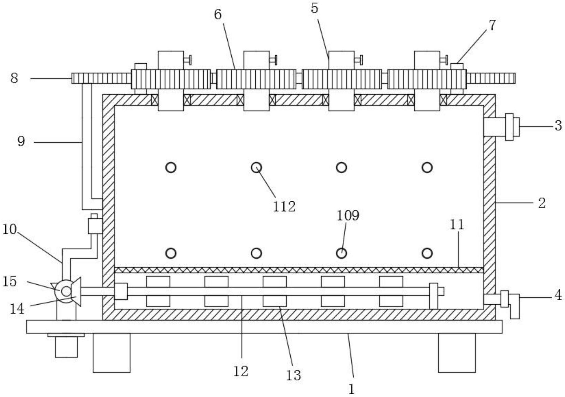
证券之星消息,根据天眼查APP数据显示大族数控(301200)新获得一项实用新型专利授权,专利名为“一种推料机构及运输装置”,专利申请号为CN202422691...
格隆汇10月22日丨众望布艺(605003.SH)公布,公司前三季度营业收入3.73亿元,同比下降3.04%;归属于上市公司股东的净利润5239.93万元,同比...
人民财讯8月6日电,达实智能(002421)8月6日晚间公告,公司与劲牌有限公司就劲牌大厦智能化项目有关事项协商一致,在湖北大冶正式签署了项目合同,合同金额34...
证券日报网讯11月17日晚间,厦门银行发布公告称,经中国人民银行和国家金融监督管理总局厦门监管局批准,厦门银行股份有限公司(以下简称“公司”)近日在全国银行间债...
证券之星消息,根据天眼查APP数据显示星宇股份(601799)新获得一项发明专利授权,专利名为“一种园区无人车的定位与路径规划方法和系统”,专利申请号为CN20...





